طراحی و ساخت دریچه های کشویی یا اسلاید گیت و دبل فلپ ولو و روتاری فیدر

طراحی و ساخت اسلاید گیت یا درچه های کشویی در صنایع مختلف از جمله صنایع فولاد، شرکت های گنداله سازی ، صنایع تولید کنسانتره ، صنایع سیمان ، آهک و گچ ، مس ، آسفالت ، صنایع غذای ، قند ، گندم و برنج ، تخلیه و بارگیری کشتی ، معادن ، صنایع بازیافت زباله ، صنایع کاغذ سازی ،صنایع نفت و پتروشیمی ، نمک ، محصولات شیمیایی و . . .

از دریچه های کشویی برای باز و بسته کردن ورودی و خروجی مخازن هاپر ها و یا مسیر های انتقال مواد استفاده می شود و از سایز بسیار کوچک تا دریچه های سد های بزرگ را شامل می شوددر صورت طراحی صحیح این تجهیزات بسیار پایدار و با خرابی کم می توانند به کار خود ادامه دهند

نمونه کار ها

اسلاید گیت پنوماتیک

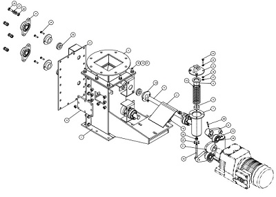
اسلاید گیت با محرک چرخ و شانه دنده

گیت ولو کشویی دستی یا منوال

طراحی و ساخت روتاری فیدر - روتاری ولو یا ایرلاک

رزومه

  • طراح و ساخت اسلاید گیت برای کارخانجات فولادو سیمان وآهک
  • طراحی و ساخت گیت ولو با محرک دستی یا منوال پنوماتیک هیدرولیک گیربکسی و چرخ و شانه دنده یا رک و پینیون
  • طراحی و ساخت راد گیت ها یا نیدل گیت ها یا دریچه های میله ای که نوعی از اسلاید گیت ها هستند

طراحی و ساخت double flap valve و دریچه های پروانه ای

طراخی و ساخت دریچه های دوبل یا دبل فلپ ولو برای هوابندی فیلتر های صنایع معدنی و شیمیایی

طراحی و ساخت دبل فلپ ولو برای صنایع فولاد و سیمان

کلمات کلیدی

تماس با ما
شرکت مدرن صنعت الماس جنوب

شیراز- بلوار پاسداران- کوچه 70/6 - پلاک 100

  • مهندس مهارلویی 09177120715
  • تلفن 07138305454
  • سایر راه های تماس
    تماس 24/7